Notas de aplicación
Actualización de la aplicación O&G - Inspecciones de muñones
¿Qué son los muñones?
Un muñón típico sobre una penetración de cubierta
Los muñones son un tipo de soporte de tuberías muy utilizado en la mayoría de los tipos de tuberías. Están diseñados para soportar el peso del carrete acoplado, mantener la posición correcta de las tuberías y evitar vibraciones y tensiones excesivas. Suelen soldarse directamente a la bobina del tubo.
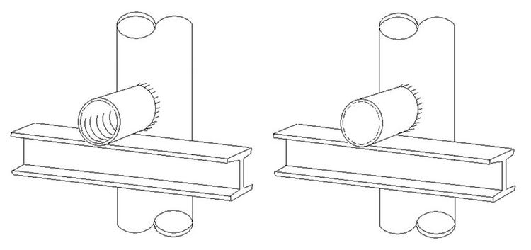
Algunas configuraciones típicas de muñones
Normalmente se añaden orificios de drenaje a los muñones antes de la soldadura, para permitir la salida de los gases calientes. Pueden sellarse para evitar la entrada de agua, pero la mayoría se dejan abiertos. La entrada de agua en estos espacios, especialmente en los muñones donde el agua estancada está en contacto con la bobina principal, puede crear un entorno de corrosión muy acelerada. La mayoría de las veces, la zona cerrada de la bobina de tubo no está revestida, lo que crea más problemas de corrosión. Estos problemas de corrosión a menudo pueden pasar desapercibidos, hasta que el carrete de la tubería falla y crea una pérdida de contención, véase más abajo;
El fallo del carrete de la tubería puede crear una pérdida de contención.
Radiografía del muñón
Para evaluar el grosor restante de la pared pueden utilizarse algunas técnicas de NDT (métodos ultrasónicos especializados o radiografía), pero pueden llevar mucho tiempo, ser caras y tener sus propias limitaciones. El grupo industrial HOIS afirma lo siguiente en relación con los boroscopios al comparar diferentes métodos de inspección de muñones;
Métodos de inspección de muñones
Método de detección útil: puede confirmar la ausencia de corrosión en la superficie externa de la tubería de proceso dentro del muñón o, posiblemente, clasificar la gravedad de cualquier corrosión presente.
Permite la visualización directa del producto con corrosión.
Rápido y sencillo de hacer.
Ninguna medida cuantitativa de la pérdida de pared o del espesor de pared restante.
Cuando hay grandes cantidades de producto con corrosión, puede ser difícil diferenciar en las imágenes entre las paredes del muñón y las de la tubería de proceso.
Requiere que el orificio de drenaje esté destapado - debe rellenarse para evitar la entrada de agua.
No detectará la pérdida de pared interna de la tubería de proceso; se limita a la evaluación de la superficie externa de la tubería.
Como herramienta de detección rápida, el boroscopio ofrece la solución más sencilla y rápida para este tipo de inspección. Las inspecciones visuales internas pueden señalar problemas que requieran una investigación más profunda, lo que acelera el alcance general de los trabajos de inspección. Las limitaciones incluyen la imposibilidad de medir el grosor restante de la pared y la dificultad de evaluar el estado cuando ya hay grandes cantidades de incrustaciones, véase más adelante;
Foto de boroscopio interno que muestra la tubería de proceso.
Mostrando diversas picaduras después de la eliminación y preparación de la superficie de las tuberías de proceso
Nuestras soluciones
Sistemas IPLEX G-Lite
Nuestros sistemas IPLEX G-Lite son un sistema de primera calidad probado sobre el terreno muy adecuado para este tipo de inspecciones. Su pequeño tamaño y peso mínimo permiten acceder a espacios reducidos, así como manipularla y utilizarla fácilmente mientras se trabaja en altura.
Videoscopio IPLEX G Lite
Ventajas de G-Lite;
- Tubo de inserción operable bajo el agua con puntas de visión estándar en caso de entrada de agua.
- La excepcional calidad de imagen y el software WIDER ayudan en zonas de escasa visibilidad con presencia de corrosión.
- La medición estereoscópica puede permitir la medición de picaduras de corrosión en lugares con poca o ninguna incrustación externa.
- 3D Assist puede modelar rápidamente el estado de las superficies en tres dimensiones, lo que reduce la dependencia de las imágenes 2D a la hora de evaluar zonas con corrosión o incrustaciones excesivas, al tiempo que sólo requiere adaptadores de lentes no estéreo normales.
- El tubo de inserción trenzado de tungsteno con revestimiento resistente al aceite es sinónimo de durabilidad y menor probabilidad de roturas.
Documentos y enlaces de interés
Guía HOIS sobre inspecciones de muñones: https://esrtechnology.com/wp-content/uploads/2023/12/HOIS-OGTC-Guidance-on-trunnion-pipe-support-inspection-and-management-Issue-1.pdf
Nota de seguridad del HSE británico relativa a las inspecciones de muñones: Corrosión en soportes de muñones de tuberías que contienen sustancias peligrosas
En el código ASME b31.3 se ofrecen orientaciones adicionales sobre las configuraciones y la construcción de los muñones.
Productos para esta aplicación
IPLEX G Lite/G Lite-W
El videoscopio industrial IPLEX G Lite ofrece potentes capacidades de procesamiento de imágenes en una estructura pequeña y robusta. Gracias a su estructura ligera y diseño que permiten llevarlo a casi cualquier lugar, los usuarios que trabajan en aplicaciones complejas pueden ahora contar con una herramienta de inspección visual que ofrece calidad de imagen y facilidad de uso para ejecutar su trabajo apropiadamente.