Notes d’application
Mise à jour de l’application O&G – Inspections des tourillons
Que sont les tourillons ?
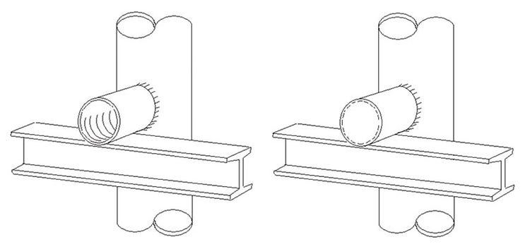
Un tourillon typique au-dessus d’une pénétration de pont
Les tourillons sont un type de support de tuyau largement utilisé sur la plupart des types de tuyaux. Ils sont conçus pour supporter le poids d’un assemblage de tuyaux, maintenir le bon positionnement des tuyaux et éviter les vibrations et les contraintes excessives. Ils sont généralement soudés directement sur l’assemblage de tuyaux.
Illustrations de quelques configurations de tourillons typiques
Des trous d’évacuation sont normalement ajoutés aux tourillons avant le soudage, pour permettre l’évacuation des gaz chauds. Ils peuvent être scellés pour empêcher l’infiltration d’eau, mais la plupart sont ouverts. L’infiltration d’eau dans ces espaces, en particulier sur les tourillons où l’eau stagnante est en contact avec l’assemblage de tuyaux de base, peut créer un environnement de corrosion très accélérée. La zone fermée de l’assemblage de tuyaux est le plus souvent non revêtue, ce qui crée d’autres problèmes de corrosion. Ces problèmes de corrosion peuvent souvent passer inaperçus, jusqu’à ce que le tuyau se rompe et provoque une perte de confinement (voir ci-dessous).
La défaillance d’un assemblage de tuyaux peut entraîner une perte de confinement.
Radiographie du tourillon
Certaines techniques CND peuvent être utilisées pour évaluer l’épaisseur de paroi restante (méthodes ultrasonores spécialisées ou radiographie), mais elles peuvent prendre du temps, être coûteuses et avoir leurs propres limites. Le groupe industriel HOIS indique ce qui suit concernant les boroscopes lors de la comparaison de différentes méthodes d’inspection des tourillons.
Méthodes d’inspection des tourillons
Méthode de dépistage utile : peut confirmer l’absence de corrosion sur la surface externe du tuyau de traitement à l’intérieur du tourillon ou éventuellement classer la gravité de toute corrosion présente.
Permet une visualisation directe du dépôt de corrosion.
Rapide et simple à réaliser.
Aucune mesure quantitative de la perte de paroi ou de l’épaisseur de paroi restante.
Lorsque de grandes quantités de dépôts de corrosion sont présentes, il peut être difficile de différencier les parois du tourillon et du tuyau de traitement sur les images.
Nécessite de libérer le trou d’évacuation : il doit être rempli à nouveau pour éviter les infiltrations d’eau.
Ne permet pas de détecter la perte de paroi interne du tuyau de traitement : limité à l’évaluation de la surface externe du tuyau.
En tant qu’outil de dépistage rapide, le boroscope représente la solution la plus simple et la plus rapide pour ce type d’inspection. Les inspections visuelles internes peuvent indiquer des problèmes susceptibles de nécessiter un examen plus approfondi, ce qui accélère le déroulement global de l’inspection. Les limites sont l’impossibilité de mesurer l’épaisseur de paroi restante et la difficulté d’évaluer l’état lorsque de grandes quantités de tartre sont déjà présentes (voir ci-dessous).
Photo du boroscope interne montrant le tuyau de traitement.
Photos montrant un ensemble de piqûres après élimination et préparation de surface des tuyaux de traitement
Nos solutions
Systèmes IPLEX G-Lite
Nos systèmes IPLEX G-Lite sont des systèmes de premier choix éprouvés sur le terrain et qui conviennent parfaitement à ces types d’inspections. Le petit format et le poids minimal permettent l’accès aux espaces restreints, ainsi qu’une manipulation et une utilisation simples lors de travaux en hauteur.
Vidéoscope IPLEX G-Lite
Avantages du G-Lite
- Tube d’insertion utilisable sous l’eau avec des embouts de visualisation standard en cas d’infiltration d’eau.
- La qualité exceptionnelle de l’image et le logiciel WIDER permettent d’améliorer la visibilité dans les zones de corrosion.
- La mesure stéréo peut permettre de mesurer les piqûres de corrosion où il n’y a que peu ou pas de tartre externe.
- 3D Assist peut modéliser rapidement les conditions de surface en trois dimensions, réduisant ainsi la dépendance aux images 2D lors de l’évaluation des zones de corrosion ou de tartre excessif, tout en ne nécessitant que des adaptateurs d’objectif non stéréo standard.
- Le tube d’insertion tressé en tungstène avec revêtement résistant à l’huile est durable et réduit les risques de rupture.
Documents et liens pertinents
Directives HOIS sur les inspections des tourillons : https://esrtechnology.com/wp-content/uploads/2023/12/HOIS-OGTC-Guidance-on-trunnion-pipe-support-inspection-and-management-Issue-1.pdf
Note de sécurité HSE du Royaume-Uni concernant les inspections des tourillons : Corrosion dans les supports de tourillons de tuyaux contenant des substances dangereuses
Des directives supplémentaires sur les configurations et la construction des tourillons peuvent être trouvées dans le cadre du code ASME b31.3.
Appareils pour cette application
IPLEX G Lite/G Lite-W
Le vidéoscope industriel IPLEX G Lite rassemble de puissantes fonctions d’imagerie dans un boîtier robuste de petite taille. Léger et transportable dans pratiquement tous les environnements, cet outil d’inspection visuelle à distance facile à utiliser convient aux applications les plus exigeantes et offre une excellente qualité d’image.