应用程序注意事项

联系我们

O&G应用更新 – 耳轴检查

什么是耳轴?

A typical trunnion above a deck penetration
甲板贯穿件上方的典型耳轴

耳轴是一种广泛应用于各类管道的管道支撑装置。其设计目的是支撑所连接管轴的重量,保证管道的正确位置,并防止过度振动和应力。它们通常直接焊接在管轴上。

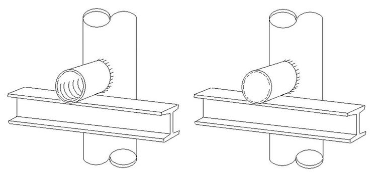
Showing some typical trunnion configurations
展示一些典型的耳轴配置

在焊接之前,通常会在耳轴上添加排水孔,以便热气排出。这些排水孔可以密封以防止进水,但大多数都是开放状态。水渗入这些空间,尤其是任何积水都会与母管轴接触的耳轴上,会形成一个加速腐蚀的环境。管轴的封闭区域通常没有涂层,从而加剧腐蚀问题。这些腐蚀问题往往会被忽视,直到管轴失效并导致泄露,见下文;

Pipe spool failure can create a loss of containment. 管轴失效可能会导致泄露。

Radiograph of trunnion
耳轴的射线照片

某些NDT技术可用于评估剩余壁厚(专业超声方法或射线照相法),但这些方法耗时长、成本高,而且有其自身的局限性。行业组织HOIS在比较不同的耳轴检测方法时,就管道内窥镜提出了以下建议;

耳轴检测方法

方法
强度
限制
管道内窥镜视频探头

有用的筛查方法 – 可以确认耳轴内的工艺管道外表面是否存在腐蚀,或可能对存在的任何腐蚀的严重程度进行分级。

可直接观察腐蚀产物。

操作快速简单。

无法定量测量管壁损失或剩余管壁厚。

如果存在大量腐蚀产物,则很难在图像中区分耳轴和工艺管壁。

需要拔出排水孔 – 必须重新填充以防止进水。

无法检测工艺管道的内壁损失 – 仅限于外部管道表面评估。

作为一种快速筛查工具,管道内窥镜为这类检测提供了简单、快捷的解决方案。内部目视检测可以标记出可能需要进一步调查的问题,从而加快整个检测工作的进度。其局限性包括无法测量剩余壁厚,以及在已经存在大量水垢的情况下难以评估状况,见下文;

Internal borescope photo showing process pipe. 显示工艺管道的内部管道内窥镜照片。

Showing assorted pitting post-removal and surface prep of process pipework
显示工艺管道拆除和表面预处理后的各种点蚀情况

我们的解决方案

IPLEX G-Lite系统

我们的IPLEX G-Lite系统是经过现场验证的合格系统,非常适合此类检测。该系统外形小巧,重量极轻,便于进入受限空间,在高空作业时也易于操作和使用。

IPLEX G-Lite Videoscope
IPLEX G-Lite视频内窥镜

G-Lite的优势;

相关文件和链接

HOIS耳轴检测指导:https://esrtechnology.com/wp-content/uploads/2023/12/HOIS-OGTC-Guidance-on-trunnion-pipe-support-inspection-and-management-Issue-1.pdf

英国HSE关于耳轴检测的安全说明:含危险物质管道的耳轴支架腐蚀

耳轴配置和构造方面的其他指导可参见ASME规范b31.3。

适于此类应用的产品

IPLEX G Lite/G Lite-W

IPLEX G Lite/G Lite-W

IPLEX G Lite工业视频内窥镜在小巧、坚固的机身中集成了强大的成像功能。轻便易携,可随身携带至任何地方,在具有挑战性的应用中,用户可以使用远程内窥检测工具,不仅图像清晰,而且操作简单,足以完成所需工作。

了解更多