Anmerkungen zur Anwendung
O&G Anwendungs-Update – Prüfungen von Rohrzapfen
Was sind Rohrzapfen?
Typischer Rohrzapfen über einer Bodendurchführung
Rohrzapfen sind ein Abstützungselement für Rohre, das häufig bei den meisten Rohrleitungssystemen zum Einsatz kommt. Sie dienen dazu, das Gewicht des angeschlossenen Leitungsstücks zu tragen, die richtige Positionierung der Leitungen zu gewährleisten und übermäßige Schwingungen und Beanspruchungen zu vermeiden. Sie werden in der Regel direkt an das Leitungsstück angeschweißt.
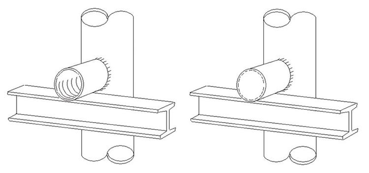
Typische Rohrzapfenkonfigurationen
Vor dem Anschweißen werden normalerweise Lüftungslöcher an den Rohrzapfen vorgesehen, damit heiße Gase abgeführt werden können. Diese können versiegelt sein, um ein Eindringen von Wasser zu vermeiden, bleiben aber meist offen. Das Eindringen von Wasser in diese Bereiche, insbesondere an Rohrzapfen, wo stehendes Wasser mit dem Leitungsstück in Kontakt kommt, kann zu einer Umgebung führen, in der Korrosion stark beschleunigt wird. Der eingeschlossene Bereich des Rohrzapfens ist meist nicht beschichtet, sodass die Korrosion begünstigt wird. Diese Korrosionsprobleme bleiben oft unbemerkt, bis das Leitungsstück versagt und es zu einem Verlust der Eindämmung kommt, siehe unten;
Bei einer Beschädigung des Rohrzapfens kann die Eindämmung verloren gehen.
Röntgenbild des Rohrzapfens
Die Restwanddicke kann mit bestimmten ZfP-Verfahren (speziellen Ultraschallverfahren oder Röntgenaufnahmen) bestimmt werden, allerdings sind diese zeitaufwändig, teuer und haben wiederum Einschränkungen. Die Industriegruppe HOIS beurteilt nach einem Vergleich der verschiedenen Prüfverfahren für Rohrzapfen Boroskope wie folgt:
Prüfmethoden für Rohrzapfen
Nützliche Prüfmethode – kann das Fehlen von Korrosion an der Außenfläche des Prozessrohrs im Rohrzapfen bestätigen oder gegebenenfalls den Schweregrad der vorhandenen Korrosion einstufen.
Zur direkten Visualisierung des korrodierten Produkts
Schnell und einfach durchführbar.
Keine quantitative Messung des Wanddickenverlusts oder der Restwanddicke.
Bei starker Korrosion kann es schwierig sein, auf den Bildern zwischen Rohrzapfen und Prozessrohrwand zu unterscheiden.
Die Entlüftungslöcher müssen frei sein – und wieder verschlossen werden, um ein Eindringen von Wasser zu vermeiden.
Ein Wanddickenverlust an der Innenwand wird nicht erkannt – nur zur Beurteilung der äußeren Leitungsoberfläche geeignet.
Als schnelles Prüfmittel bietet das Endoskop die einfachste und schnellste Lösung für diese Art von Prüfungen. Interne Sichtprüfungen können auf Probleme hinweisen, die genauer untersucht werden müssen, und beschleunigen damit den Ablauf der Prüfung insgesamt. Einschränkungen bestehen bei der Messung der Restwanddicke und der Beurteilung des Zustands, wenn die Korrosion bereits weit fortgeschritten ist, siehe hier:
Internes Boroskop-Foto eines Prozessrohres.
Lochfraß in verschiedenen Stadien nach Rostentfernung und Oberflächenvorbereitung von Prozessrohren
Unsere Lösungen
IPLEX G-Lite Systeme
Unsere IPLEX G-Lite Systeme haben sich im Außeneinsatz hervorragend bewährt und eignen sich hervorragend für diese Art von Prüfungen. Die kleinen Abmessungen und das minimale Gewicht erlauben den Zugang auch zu beengten Räumen sowie die einfache Handhabung und die Arbeit in Höhen.
IPLEX G-Lite Videoskop
Vorteile des G-Lite;
- Unter Wasser einsetzbares Einführungsrohr mit Standardsichtspitzen.
- Außergewöhnliche Bildqualität und die WIDER-Software erleichtern den Einsatz in Bereichen mit schlechter Sicht und Korrosion.
- Die Stereomessung erlaubt die Messung von Lochfraßkoorrosion bei fehlenden oder geringen Ablagerungen.
- 3D Assist kann schnell die Oberflächenbedingungen in drei Achsen modellieren, sodass Bereiche mit starker Korrosion oder starken Ablagerungen nicht nur anhand von 2D-Bildern beurteilt werden müssen. Dazu werden nur normale Linsenadapter benötigt, keine Stereo-Linsenadapter.
- Durch das mit Wolframlitze geschützte Einführungsrohr mit ölbeständiger Beschichtung erhöht sich die Haltbarkeit, gleichzeitig verringert sich die Bruchgefahr.
Relevante Dokumente und Links
HOIS-Leitlinien zu Rohrzapfenprüfungen: https://esrtechnology.com/wp-content/uploads/2023/12/HOIS-OGTC-Guidance-on-trunnion-pipe-support-inspection-and-management-Issue-1.pdf
Britischer HSE Sicherheitshinweis zu Rohrzapfenprüfungen: Korrosion in Rohrzapfenstützen von Leitungen mit Gefahrstoffen
Weitere Leitlinien zu Rohrzapfenkonfigurationen und zur Konstruktion finden Sie in den ASME Vorschriften b31.3.
Produkte für diese Anwendung
IPLEX G Lite/G Lite-W
Das IPLEX G Lite Industrie-Videoskop vereint eine Vielzahl leistungsstarker Bildgebungsfunktionen in einem kleinen, robusten Gehäuse. Leicht und nahezu überall einsetzbar – damit haben Prüfer ein Gerät für Sichtprüfungen für komplexe Anwendungen mit hoher Bildqualität und Bedienerfreundlichkeit, das die Arbeit unterstützt.