Note applicative
Aggiornamento sull'applicazione O&G – Ispezione di perni
Cosa sono i perni?
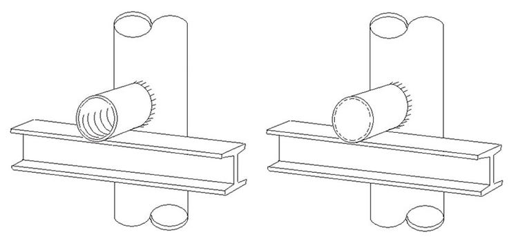
Un tipico perno al di sopra del punto di attraversamento del ponte
I perni sono un tipo di supporto di tubazioni usati ampiamente nella maggior parte delle tubazioni. Sono progettati per supportare il peso della sezione a cui è attaccato, mantenere la corretta posizione della tubazione, oltre a evitare delle eccessive vibrazioni e sollecitazioni. Sono in genere saldati direttamente nella sezione della tubazione.
Illustrazioni di alcune configurazioni di tipici perni.
In genere vengono aggiunti dei fori di scarico ai perni prima di effettuare la saldatura, in modo da permettere l'evacuazione di gas caldi. Questi possono essere chiusi per evitare infiltrazioni d'acqua, tuttavia in genere vengono lasciati aperti. L'infiltrazione di acqua in questi spazi, specialmente nei perni dove dell'acqua stagnante entra in contatto con la sezione di base, potrebbe creare un ambiente in grado di accelerare significativamente la corrosione. L'area chiusa della sezione delle tubazione è la maggior parte delle volte senza rivestimento, creando ulteriormente delle problematiche correlate alla corrosione. Queste problematiche correlate alla corrosione possono spesso passare inosservate fino a quando non si verifica un guasto nella sezione della tubazione con cedimento del contenimento (vedi di seguito).
Il guasto di una sezione di tubazione può provocare il cedimento del contenimento.
Radiografia di perno
Certe tecniche NDT possono essere usate per valutare lo spessore residuo delle pareti (metodi ad ultrasuoni speciali o radiografia), tuttavia possono risultare dispendiose in termini di tempo, essere costose e avere dei limiti specifici. Il gruppo industriale HOIS riporta le seguenti informazioni concernenti i videoscopi quando si confrontano diversi metodi di ispezione per i perni;
Metodi di ispezione dei perni
Utile metodo di monitoraggio: Permette di confermare l'assenza di corrosione sulla superficie esterna della tubazione operativa all'interno del perno o eventualmente classificare la gravità di ogni corrosione presente.
Permette la visualizzazione diretta dei residui della corrosione.
Di rapida e semplice applicazione.
Nessuna misura quantitativa di riduzione dello spessore delle pareti.
Nel caso di presenza diconsiderevoli quantità di residui di corrosione, può risultare complesso differenziare nelle immagini le pareti dei perni e della tubazione operativa.
Necessita l'apertura dei fori di scarico: Devono essere chiusi nuovamente per evitare le infiltrazioni d'acqua.
Non permette di rilevare la parte di parete interna della tubazione operativa: Limitata alla valutazione della superficie esterna della tubazione.
Come rapido strumento di monitoraggio il videoscopio rappresenta la soluzione più semplice e veloce per questo tipo di ispezione. Le ispezioni visive remote possono evidenziare problematiche che potrebbero necessitare ulteriori verifiche, accelerando l'esecuzione generale dell'ispezione. I limiti concernono l'impossibilità di misurazione dello spessore residuo della parete e la difficoltà di valutare le condizioni in caso di presenza di quantità considerevoli di incrostazioni (vedi di seguito).
Foto di videoscopio interno raffigurante la tubazione operativa.
Foto raffigurante una vaiolatura variegata in seguito all'eliminazione e alla preparazione delle superfici delle tubazioni operative.
Le nostre soluzioni
Sistemi IPLEX G-Lite
I nostri sistemi IPLEX G-Lite rappresentano degli eccezionali sistemi collaudati e ottimali per questi tipi di ispezioni. Il ridotto fattore di forma e il peso minimo permettono un'accessibilità in spazi ristretti, oltre a una semplice manipolazione e uso mentre si opera in altezza.
Videoscopio IPLEX G Lite
Vantaggi del G-Lite
- La sonda di inserimento è utilizzabile sott'acqua mediante dei terminali di visualizzazione standard nel caso di infiltrazioni d'acqua.
- L'eccezionale qualità delle immagini e il software WIDER risultano utili in aree con scarsa visibilità e presenza di corrosione.
- Le misure stereoscopiche possono essere applicate alle vaiolature da corrosione se sono assenti o sono presenti in minime quantità delle incrostazioni esterne.
- 3D Assist permette di definire rapidamente un modello tridimensionale delle condizioni superficiali, riducendo la dipendenza da immagini 2D quando si valutano aree con corrosione o incrostazioni eccessive, richiedendo solamente l'impiego di standard adattatori di obiettivi non stereoscopici.
- La sonda di inserimento con intrecciatura al tungsteno con rivestimento anti-olio è resistente e meno soggetta a guasti.
Documenti e link rilevanti
Guida HOIS sulle ispezioni dei perni: https://esrtechnology.com/wp-content/uploads/2023/12/HOIS-OGTC-Guidance-on-trunnion-pipe-support-inspection-and-management-Issue-1.pdf
Nota di sicurezza UK HSE concernente le ispezioni di perni: Corrosione nei supporti dei perni di tubazioni contenenti sostanze pericolose
Una guida supplementare sulle configurazioni e la costruzione di perni è disponibile nella norma ASME b31.3.
Prodotti usati per questa applicazione
IPLEX G Lite/G Lite-W
Il videoscopio industriale IPLEX G Lite racchiude potenti funzionalità di imaging in un corpo compatto e robusto. Gli operatori impegnati in applicazioni complesse possono avvalersi di uno strumento di ispezione visiva remota leggero e con una portatilità praticamente illimitata per una qualità delle immagini e una facilità d'uso tali da realizzare le ispezioni in modo ottimale.