アプリケーションノート

お問い合わせ

石油・ガスアプリケーションの更新 – トラニオン検査

トラニオンとは?

A typical trunnion above a deck penetration
デッキ貫通部の上に見られる典型的なトラニオン

トラニオンはパイプ支持材の一種で、ほぼあらゆる種類の配管に広く用いられます。取り付けられたスプールの重量を支え、適切な配管位置を保持し、過剰な振動や負荷を防ぐよう設計されています。一般的に、配管スプールに直接溶接されます。

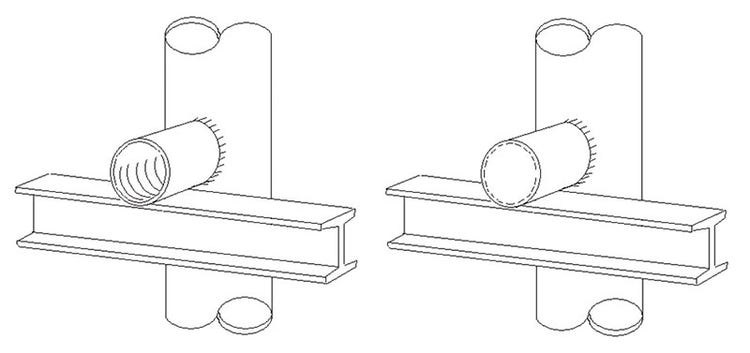
Showing some typical trunnion configurations
代表的なトラニオン形態の例

熱されたガスを逃がすため、トラニオンの溶接は通常、排水孔を追加してから行われます。水が入らないよう穴を密閉することもできますが、その多くは開いたままの状態にします。トラニオンの親スプールが水に継続的にさらされる場合は特に、穴に水が入ると腐食が一気に進む環境となるおそれがあります。スプール配管の内側はコーティングされていない場合がほとんどで、腐食がさらに深刻になります。しかし、配管スプールが損傷し封じ込めが不完全になるまで、このような腐食問題に気付かないことが多くあります。下図をご覧ください。

Pipe spool failure can create a loss of containment.
スプール配管の損傷が原因で封じ込めが不完全になります。

Radiograph of trunnion
トラニオンの放射線写真

残存肉厚は、いくつかのNTD技術(特殊な超音波法や放射線撮影法)を用いて評価できますが、時間とコストがかかり、制約もあります。工業団体のHOISは、トラニオンの各種検査方法を比較したうえで、内視鏡を用いた検査について以下のように述べています。

トラニオンの検査方法

方法
強み
制約
ビデオスコープ

有効なスクリーニング法 – トラニオンの内側にある処理パイプの外面に腐食がないことを確認できる。または腐食がある場合、重大度のランク付けが可能。

腐食生成物を直接目視可能。

短時間で容易に実施可能。

壁損失や残存肉厚の定量測定ができない。

大量の腐食生成物が存在すると、トラニオンと処理パイプの壁を画像で見分けることが困難となるおそれがある。

排水孔の開放 – 水が浸入しないよう再度塞ぐ必要あり。

処理パイプ内壁の損失は検出できない – 外壁の評価に限定される。

迅速なスクリーニングを可能にする内視鏡は、この種の検査を極めて容易に手早く行えるソリューションです。内部の目視検査を行うことにより、調査が必要となる問題が明らかになり、検査の進行を全体的に加速させることができます。制約として、残存肉厚を測定できないこと、大量のスケールが存在する場合、状態評価が困難であることが挙げられます。

Internal borescope photo showing process pipe.
内視鏡で撮影されたプロセス配管の内部画像

Showing assorted pitting post-removal and surface prep of process pipework
プロセス配管に施される、さまざまな腐食除去と表面処理

当社のソリューション

IPLEX G Liteシステム

当社のIPLEX G-Liteビデオスコープは、実際の現場でその実力が立証されており、これらの検査に適しています。小型で軽量なため、狭いスペースにも対応できるだけでなく、操作も簡単で高所での作業にも適しています。

IPLEX G-Lite Videoscope
IPLEX G Liteビデオスコープ

IPLEX G Liteの利点

関連文書およびリンク

トラニオン検査に関するHOISガイダンス: https://esrtechnology.com/wp-content/uploads/2023/12/HOIS-OGTC-Guidance-on-trunnion-pipe-support-inspection-and-management-Issue-1.pdf

トラニオン検査に関するUK HSE 安全注意事項: Corrosion in trunnion supports of pipework containing hazardous substances

トラニオンの形態と構造に関する他のガイダンスは、ASME code b31.3に記載されています。

この用途向けの製品

IPLEX G Lite/G Lite-W

IPLEX G Lite/G Lite-W

IPLEX G Liteビデオスコープは、小型で堅牢性にすぐれ、高度な画像処理機能を搭載しています。軽量であらゆる場所に持ち運び可能で、高画質と使いやすさを兼ね備えた目視検査ツールを使用すれば、困難を極める使用環境下でも任務を完了できます。

詳細はこちら