애플리케이션 노트

문의하기

석유 및 가스 응용 분야 업데이트 – 트러니언 검사

트러니언(Trunnion)이란?

A typical trunnion above a deck penetration
덱 관통 관 위에 있는 일반적인 트러니언

트러니언(Trunnion)은 대부분의 배관 유형에서 광범위하게 사용되는 일종의 파이프 지지대입니다. 이 지지대는 부착된 스풀의 무게를 지지하고, 배관의 올바른 배치를 지원하고, 과도한 진동과 응력을 방지하기 위한 것입니다. 트러니언은 일반적으로 파이프 스풀에 직접 용접하여 연결합니다.

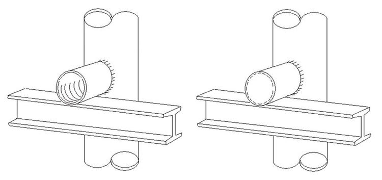
Showing some typical trunnion configurations
일반적인 트러니언 구성을 보여주는 자료

뜨거운 가스가 배출되도록 보통 용접 전에 통풍구(weep hole)를 트러니언에 추가합니다. 이러한 통풍구는 물이 유입되지 않도록 밀폐되지만 대부분이 개방 상태를 유지합니다. 이 공간, 특히 트러니언에 물이 유입되어 고인 물이 상위 스풀과 접촉할 경우 부식 속도가 빨라지는 환경이 조성될 수 있습니다. 파이프 스풀의 밀폐된 영역은 코팅되지 않는 경우가 많아 부식 문제가 더욱 심각해집니다. 일반적으로 파이프 스풀에 문제가 생겨 누출이 발생할 때까지 이러한 부식 문제를 모르는 경우가 많습니다.

Pipe spool failure can create a loss of containment.
파이프 스풀 문제로 누출이 발생할 수 있습니다.

Radiograph of trunnion
트러니언을 촬영한 방사선 사진

특정 NDT 기법(특수 초음파 방법 또는 방사선 촬영)을 사용하여 나머지 벽 두께를 평가할 수는 있지만, 시간이 많이 걸리고 비용이 많이 들며 한계점이 있습니다. 산업 단체 HOIS는 트러니언을 위한 여러 가지 검사 방법을 비교하면서 보어스코프에 대해 다음과 같이 말합니다.

트러니언 검사 방법

방법
강점
한계
보어스코프 비디오 프로브

유용한 스크리닝 방법 – 트러니언 내부에서 공정 파이프의 외부 표면에 부식이 없음을 확인하거나 부식이 있는 경우 그 심각도의 순위를 매길 수 있습니다.

부식 산물의 직접적인 시각화가 가능합니다.

빠르고 간편한 검사 방법입니다.

벽이 얇아진 정도 또는 남은 벽 두께를 정량적으로 측정하지 않습니다.

부식 산물의 양이 많을 경우, 이미지에서 트러니언과 공정 파이프 벽을 구분하기 어려울 수 있습니다.

통풍구를 열어야 합니다. 이러한 통풍구는 물의 유입을 막기 위해 다시 채워야 합니다.

공정 파이프 내벽의 얇아짐을 감지하지 않습니다. 외부 파이프 표면 평가만 가능합니다.

빠른 스크리닝 도구인 보어스코프는 이러한 검사 유형을 위한 가장 간편하고 빠른 솔루션을 제공합니다. 내부 육안 검사는 추가로 살펴보아야 할 수 있는 문제를 지적하여 전반적인 검사 작업의 속도를 높입니다. 한계점으로는 남은 벽 두께를 측정할 수 없고, 퇴적물이 많이 있는 경우 상태를 평가하기 어렵다는 것입니다. 아래 내용을 참조하세요.

Internal borescope photo showing process pipe.
공정 파이프를 보여주는 내부 보어스코프 사진.

Showing assorted pitting post-removal and surface prep of process pipework
제거 후 여러 피팅과 공정 배관의 표면 준비 상태를 보여주는 자료

Evident의 솔루션

IPLEX G-Lite 시스템

Evident의 IPLEX G-Lite 시스템은 이러한 검사 유형에 매우 적합한 것으로 현장에서 검증된 최고의 시스템입니다. 작은 폼 팩터와 최소의 무게 덕분에 접근이 어려운 공간에 접근할 수 있으며 높은 곳에서 작업할 때도 쉽게 조작하고 사용할 수 있습니다.

IPLEX G-Lite Videoscope
IPLEX G-Lite 비디오스코프

G-Lite의 장점

관련 문서 및 링크

HOIS 트러니언 검사 지침: https://esrtechnology.com/wp-content/uploads/2023/12/HOIS-OGTC-Guidance-on-trunnion-pipe-support-inspection-and-management-Issue-1.pdf

트러니언 검사 관련 UK HSE 안전 자료: 유해 물질을 포함한 배관의 트러니언 지지대의 부식

트러니언 구성 및 구축에 관한 추가 지침은 ASME 코드 b31.3에서 확인할 수 있습니다.

이 응용 분야를 위한 제품

IPLEX G Lite/G Lite-W

IPLEX G Lite/G Lite-W

IPLEX G Lite 산업용 비디오스코프는 작지만 견고한 본체에 강력한 이미징 기능을 탑재하고 있습니다. 가벼운 무게와 어디든 가져갈 수 있는 휴대성 덕분에, 까다로운 분야에서 작업하는 사용자도 뛰어난 이미지 품질과 사용 편의성을 갖춘 원격 육안 검사 도구를 사용하여 작업을 완수할 수 있습니다.

자세히 알아보기